Đóng
 

Thứ năm, 30/04/2026 | 09:33
18:03  |  30/04/2026

Toyota đăng ký bằng sáng chế xe máy chạy hydro: Giải pháp đổi bình nhiên liệu tương tự đổi pin xe điện

Hãng xe Nhật Bản Toyota vừa gây chú ý khi chính thức nộp bằng sáng chế cho một mẫu xe hai bánh sử dụng công nghệ pin nhiên liệu hydro. 

Động thái này cho thấy nỗ lực của nhà sản xuất ô tô lớn nhất thế giới trong việc mở rộng hệ sinh thái năng lượng sạch, không chỉ dừng lại ở ô tô mà còn hướng tới mục tiêu hiện thực hóa xã hội hydro thông qua các phương tiện giao thông nhỏ gọn hơn. 

Hình ảnh mô phỏng trong bằng sáng chế cho thấy mẫu xe mới có nhiều nét tương đồng với mẫu Burgman chạy hydro của Suzuki từng ra mắt tại Triển lãm ô tô Tokyo. Thực tế, cả Toyota và Suzuki hiện đều là thành viên của dự án HYSE tại Nhật Bản, một liên minh chuyên nghiên cứu ứng dụng động cơ hydro cho các dòng xe nhỏ. Việc chia sẻ nền tảng thiết kế và hạ tầng kỹ thuật giữa hai hãng xe được giới chuyên môn đánh giá là hướng đi khả thi để giảm thiểu chi phí nghiên cứu và phát triển.

Khác với hướng đi sử dụng động cơ đốt trong chạy hydro của một số đối thủ, Toyota tập trung vào hệ thống pin nhiên liệu. Công nghệ này tạo ra điện năng thông qua phản ứng hóa học giữa hydro và oxy, với sản phẩm thải duy nhất là nước. Giải pháp này không chỉ đạt hiệu suất năng lượng cao mà còn loại bỏ hoàn toàn các khí thải độc hại như oxit nitơ (NOx). Việc sử dụng bình nạp sẵn cũng giúp kiểm soát độ tinh khiết của hydro, yếu tố then chốt để duy trì tuổi thọ và hiệu quả của hệ thống pin nhiên liệu.

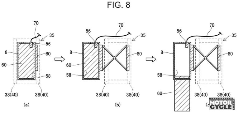
Điểm khác biệt cốt lõi trong hồ sơ sáng chế của Toyota là phương thức nạp năng lượng. Thay vì quy trình bơm khí hydro áp suất cao tại trạm, hãng đề xuất sử dụng các bình chứa hydro nạp sẵn có thể tháo lắp thủ công. Mô hình này vận hành tương tự hệ thống đổi pin trên xe máy điện hiện nay, cho phép người dùng thay thế bình nhiên liệu đã cạn bằng bình đầy chỉ trong thời gian ngắn, giúp tối ưu hóa sự tiện lợi cho những hành trình liên tục.

Dù mang lại nhiều ưu điểm về môi trường, mẫu xe máy chạy hydro của Toyota vẫn phải đối mặt với bài toán bố trí linh kiện. Pin nhiên liệu thường được đặt thấp dưới khung để cân bằng trọng tâm, nhưng vị trí này lại gây cản trở đáng kể cho việc tháo lắp bình nhiên liệu nhanh chóng. Bên cạnh đó, việc thiếu hụt mạng lưới trạm đổi bình hydro chuyên dụng vẫn là rào cản lớn nhất khiến khả năng thương mại hóa dòng xe này trong tương lai gần vẫn còn bỏ ngỏ.

Dù chưa ấn định thời điểm sản xuất hàng loạt, bằng sáng chế mới của Toyota đã gửi đi thông điệp mạnh mẽ về sự kiên định với năng lượng hydro. Trong bối cảnh công nghệ pin sạc truyền thống vẫn còn những hạn chế về thời gian nạp và nguồn cung nguyên liệu, pin nhiên liệu hydro nạp sẵn được kỳ vọng sẽ trở thành phương án dự phòng chiến lược hoặc thay thế hoàn toàn cho các dòng xe điện hai bánh trong tương lai dài hạn. 

TH (Otoxemay)

Ảnh minh họa: AI

Kinh nghiệm

5 mẫu xe máy Honda tiết kiệm nhiên liệu nhất tại Việt Nam hiện nay

Giá xăng liên tục biến động khiến chi phí đi lại trở thành mối quan tâm lớn với người dùng xe máy. Trong bối cảnh đó, việc lựa chọn một mẫu xe tiết kiệm nhiên liệu không chỉ giúp...